第14章 无线通信
14.1 简介
工业自动化中的无线通信如今已成为现实,而不再是一个学术讨论话题。大多数行业和制造企业已经在其工厂中部署了一定程度的无线仪表设备。无线仪表在工业自动化中的应用正变得不可或缺,正如手机在电信领域的重要性一样。无线仪表及其相关的数据采集与控制系统具有诸多优势,促使各行业转向采用无线仪表技术。
14.1.1 无线仪表的优势
无线仪表的优势如下。
- 无线技术系统可直接节省布线成本,这成为选择无线方案时的一个非常重要的因素。工厂占地面积巨大,通常可达数平方公里。控制室与现场变送器之间的距离有时长达数公里,或至少数百米。采用无线仪表设备和控制系统可使整个投资变得冗余。
- 电缆敷设、连接、电缆桥架安装及其他相关作业均需要大量人力。采用无线仪表可大幅节省熟练劳动力成本。使用无线现场仪表和发射器可节约数据电缆成本和电源电缆成本。这些发射器为自备电池供电,可持续工作多年。
- 无线技术系统易于调试,整个系统可在几天内投入使用,而同等规模的有线系统调试可能需要数月时间。项目设置、安装和调试时间直接关系到公司的收入和收益,无论是新建工厂还是现有工厂升级都是如此。工厂越早开始生产,公司就能越快获得收入。在这方面,无线技术系统的安装和调试远优于传统的有线系统。
- 接线盒是有线仪表回路中的一个重要部件,它是现场与控制室之间的连接点。接线盒设备可以是2/3/4线制变送器。一条多芯电缆从控制室引至接线盒,再从接线盒引出一条2/3/4芯电缆至发射器或最终控制元件的位置。它将多条主电缆汇聚为少量多芯电缆。然后,一根较粗的多芯电缆从接线盒路由至控制室。相比铺设大量主电缆,铺设较少数量的多芯电缆更加方便。一个接线盒可以引出多条多芯电缆。根据工厂特定区域中发射器的密度,一个接线盒可能连接几台设备到40/50台设备。无线技术仪表设备有效消除了不同主电缆和接线盒带来的项目工程复杂性。
- 从接线盒引出的电缆放置在电缆桥架上。所有多芯电缆均放置在电缆桥架顶部,并布线至控制室。这需要使用不同规格的电缆桥架。来自工厂不同位置的电缆在通往控制室的过程中逐渐汇聚并累积。因此,必须进行大量规划和文档记录,以标明每根电缆传输的是哪个现场设备的信号。电缆布线必须遵循特定规则,例如不能与高压电缆一同布线,电缆桥架之间的交叉方式等。而无线仪表技术则消除了所有这些复杂的布线设计。
- 无线仪表技术还消除了控制室侧端子排和接线柜的需求。接线柜是容纳来自现场的多芯电缆的外壳。这些电缆在端子排处终止。端子排两侧均有连接,另一侧的连接通向安全栅(齐纳安全栅),以防止过大电流进入现场的危险环境。
- 现场端子板是位于输入/输出(I/O)卡之前的接口卡。安全栅的另一侧连接到现场端子板。有时,如果回路不需要安全栅,则导线直接连接在终端面板和现场端子单元之间。同样,所有这些硬件在无线技术连接中都变得冗余。
信号的实际处理发生在I/O卡上。I/O卡根据信号类型的不同而有所区别,例如4–20 mA I/O、0–5 V、温度毫伏信号以及支持HART协议的信号。但无线变送器具备足够的智能性,能够完成所有处理工作,并发送无需I/O卡进一步处理的信号。I/O卡价格昂贵,每块仅支持8到16个设备数据点。可以很容易想象,将成千上万个数据点引入控制系统需要多少I/O卡。智能无线设备作为单一I/O使用,完全消除了此类硬件需求。
对于有线仪表设备,需要准备并维护大量文档。每个标签或过程点都必须从控制室追溯到现场位置。回路和管线图应注明每一个端子号、接线盒、接线柜等。此外,在整条电缆上必须有交叉标记,以标明电缆另一端的终止位置。而所有这些对于无线仪表来说都变得多余了。
- 提高可用性:无线设备在网状网络中运行,每个设备都有多条通信路径。而在有线方式中,路径上没有冗余。导线断裂/腐蚀可能导致一个或多个设备停止工作,具体取决于故障位置。
- 可扩展性:一旦在工艺区域建立了无线网络,便可轻松添加新设备,而无需担心接线盒的备用容量,也无需在分布式控制系统(DCS)侧增加任何新硬件。
- 增强的安全合规性:无线通信通过将难以到达的位置的读数传输到控制室,减少了操作员/人员前往这些位置的需求,从而提升了安全性。
- 提高能源效率和减少火炬燃烧/碳氢化合物损失:无线技术使得能够使用无线声学发射器等设备。这些设备以前在之前不可用;它们能有效检测通过的放空阀门/故障蒸汽疏水阀。这有助于24×7监控关键的放空阀门/蒸汽疏水阀,实现早期检测并减少放空/蒸汽损失。
14.2 工业无线通信的基本概念
在任何无线通信中,数据传输主要发生在两个设备之间,即发射器和接收器。发射器发送数据,接收器接收数据。无线网络中的任何节点都可以交替充当发射器和接收器。工业无线网络主要包含两种设备:现场设备和基础设施节点。现场设备是具备无线功能的现场传感器,负责过程参数的测量。基础设施节点不测量任何现场参数,它们用于收集信号并将其传送到骨干网,或可用作中继器。骨干网络是工厂范围内负责数据传输的主要网络基础设施。骨干网可以是基于 IEEE 802.3的常规以太网基础设施,也可以是基于IEEE 802.11a的无线网状网络,或其他任何形式的通信方式。骨干网可被视为具有更高流量承载能力(即更高带宽)的主干道。如同带宽较小的各条动脉道路一样,工业协议通向这条主干道,它们汇集数据并将其送入具有更高容量的主骨干网。
无线通信依赖于多个因素,或者说通信受这些参数控制。无线通信最主要的资源是频率谱。发射器和接收器必须调谐到相同的频率范围才能进行通信。当我们把调频收音机接收器调到某个特定频率(例如,88至107兆赫之间的任意频率)时,它就会从广播或发射电台接收信号。手机终端也必须调谐到特定频率才能与手机基站通信。但所有这些频段都用于商业用途,因此被称为授权频段。在这些频段内传输需要有效的许可证。这些频率谱为政府带来数十亿美元的收入。工业无线通信无需购买频率谱。全球存在一些无需许可的频率范围。免许可工业、科学和医疗(ISM)频段的2.4 GHz主要用于工业无线通信。其精确频率范围为2402–2482兆赫(在某些国家可达2483.5兆赫)。
发射器与接收器之间的通信范围或距离由许多因素决定,但主要因素是发射功率。发射设备的输出功率决定了通信范围。通常以瓦特(Watt)、毫瓦(mWatt)或dBm为单位进行测量。通信范围或距离与输出功率成正比。对于符合ISM频段的设备,其输出功率受到限制。由于该频段无需许可证,因此不应干扰附近其他设备。每个国家都对符合ISM频段要求的设备所允许的输出功率制定了法规。不同国家的规定从−5 dBm到最高23 dBm不等。而像我们的手机这类授权频段设备,尤其是蜂窝塔端的收发器,可以在更高的功率下运行,因为在相同频率范围内没有其他运营商。因此,其通信范围更远。
天线在确定范围方面也起着重要作用。天线的增益和方向可以显著增加范围。
接收器检测和感知这种衰减信号非常重要。接收端灵敏度越高,接收器捕获信号的能力越强。接收器灵敏度以dBm为单位进行测量,同时也决定了通信范围。无线现场设备中所用射频芯片的灵敏度通常为−85到−98 dBm。接收端接收到的信号称为接收信号强度指示(RSSI),并以dBm表示。为了确保现场设备的最佳运行,RSSI应小于−70 dBm。信号强度小于−50 dBm和−30 dBm分别被视为良好和极佳的信号强度。
发射器与接收器之间的距离由清晰的视距(LOS)距离定义。考虑到不同的输出功率、天线增益和接收器灵敏度,该距离规格可在发射器与接收器之间达到300至2000米的视距范围。
用于工业用途的大多数无线电设备在MAC和PHY层遵循IEEE 802.15.4标准。不同的标准根据自身规范修改了上层。这些无线电设备采用直接序列扩频技术,具有5 MHz频带。这些窄带无线电设备在工业、科学和医疗频段可用的80 MHz(2402–2482兆赫)中,仅有效使用了其中的5 MHz进行通信。
IEEE 802.11标准还规定了不同频率信道的最小和最大频率范围。IEEE 802.11a/b/g(尤其是b/g无线电)也在2.4 GHz ISM频段运行,但这些无线电设备在22 MHz的带宽内运行(图14.1)。由于在2.4 GHz免许可频段中对设备的使用没有限制,工业无线标准必须具备坚固性和可靠性,以克服共存情况下可能出现的干扰。跳频扩频(FHSS)为这一问题提供了解决方案。大多数工业标准采用跳频技术来避免此类问题。在80 MHz宽的ISM频段内,5 MHz频带的无线电最多可拥有15至16个不重叠的独立频率用于操作。每次接收器和发射器通信后,下一次通信将在变化的频率上进行。该技术提高了协议的可靠性、安全性和坚固性。跳频通常遵循特定序列,以避免安全威胁。高级算法
(a) IEEE 802.11b 北美洲信道选择(非重叠)。 (b) IEEE 802.11b 欧洲信道选择(非重叠)
用于识别特定频率上的高丢包率(PER)。如果由于某些特定频率上持续存在的干扰而导致数据包连续丢失,系统管理器可以识别这些频率并将其加入信道黑名单。这称为信道黑名单。随后,系统管理器会更新所有设备,禁止使用这些信道进行通信。系统管理器是位于所有设备之上的最高权威,负责所有资源的分配与管理。除了决定跳频频率外,当新设备加入网络或设备从网络中移除时,系统管理器还负责资源的分配与释放。
工业无线系统依赖于时分多址(TDMA)进行通信。在典型的工业环境中,通信发生在所有现场设备之间或现场设备与基础设施节点之间。一个父节点可以拥有多个子节点,且该父节点负责路由其子节点发送的数据包。父节点的接收器只能监听来自一个子节点的特定频率。采用TDMA技术以容纳多个节点。父节点可用于通信的时间被划分为许多微小的时间槽,这些时间槽具有唯一地址。子节点为通信预留这些时间槽:子节点1预留时间槽1用于通信,子节点2预留时间槽2,依此类推。当父节点在时间槽x中接收到数据时,便知道该数据来自具有特定地址的设备。部分时间槽保持空闲,用于紧急通信,例如报警上报或在首次尝试失败时重传数据包。一个时间槽通常在10–12毫秒范围内。系统管理器负责分配时间槽和资源。
接收器与发射器之间存在两种通信方式——“发布‐订阅”和“请求‐响应”。在发布‐订阅模式中,发射器按预定间隔发布数据,接收器则订阅这些数据。这种方式也称为预定式、同步式、延迟控制式或确定性通信。它可确保数据以固定的时间间隔到达目的地。关键数据(如主要测量的过程值)通过此机制传输。请求‐响应通信方式用于传输控制系统不需要定期获取的数据。只有当控制系统或系统管理器请求某些数据时,才会启动该方式。但响应无法保证在特定时间内完成。如果存在多个请求,其中一个可能比其他请求具有更高优先级。此类通信也称为争用控制式、异步或概率性通信。
时间同步在无线通信中起着重要作用。例如,如果接收器需要在指定时隙从特定地址的发射器接收一个数据包,则两者都必须在该时刻调谐到特定频率。当发射器发送数据包时,接收器进行监听。接收器对接收到的数据包进行确认,并向发射器发送确认包。这种发送和接收过程在几毫秒内完成。无线网络中的所有节点均以微秒级精度实现时间同步。父节点会以较频繁的间隔对其子节点进行时间校正。
时间同步在设备采用休眠和唤醒功能以实现节能时尤为重要。无线发射器有两种版本——一种完全无需连线,另一种则具备外部电源选项。通常,外部供电发射器从附近的电源获取电力,但通过无线源传输数据。而纯无线发射器则依靠内部电池供电。其内部无线电和传感器电路经过特殊设计,可使电池寿命长达2至10年。一般会采用非常先进的休眠和唤醒算法,在节点等待通过时分多址(TDMA)架构发布数据的期间节省功耗。报告速率也决定了电池寿命。如果一个设备需要每隔5秒间隔发布一次数据,则该设备每5秒唤醒一次,发布感知的现场参数,确保通过确认机制完成数据传输,并进行计算。其他时间则进入睡眠状态。通常,数据通信仅需几毫秒,设备其余时间均处于空闲状态。此时电子电路会进入休眠/睡眠模式,从而节省功耗。这使得时间同步至关重要。除非设备在正确的时间和指定的时隙(TDMA)唤醒,否则将无法成功发送其数据包。报告速率较慢的设备(例如30秒、60秒甚至更长)比报告速率快的设备具有更长的电池寿命,因为报告速率慢的设备睡眠时间更长,因此更节能。
14.2.1 工业、科学和医疗频段
工业、科学和医疗无线电频段(ISM radio bands)是指国际上保留用于工业、科学和医疗用途(ISM purposes)射频(RF)能量而非通信的无线电频段(无线电频谱的一部分)。工业、科学和医疗频段(ISM band)被无绳电话、对讲机、蓝牙设备、基于Wi‐Fi的设备、笔记本电脑、智能手机、微波炉和医疗仪器等设备和应用程序所使用。2.4 GHz 是几乎所有国家普遍接受的工业、科学和医疗频段。此外,在 5.4–5.8 GHz 范围内还有另一个免许可频段。
14.2.2 发射功率和等效全向辐射功率
在无线通信系统中,等效全向辐射功率(EIRP),或称为有效全向辐射功率,是指由一个全向天线(在所有方向上均匀分布功率的理论构造)发射的功率量,以产生在天线最大增益方向上观测到的峰值功率密度。EIRP可以计入传输线和连接器中的损耗,并包含天线的增益。
EIRP通常以相对于参考功率电平的分贝值表示,该参考功率电平是具有等效信号强度的全向辐射器所发射的功率。EIRP使得不同类型、尺寸或形式的发射器之间能够进行比较。通过 EIRP以及实际天线增益的信息,可以计算出实际的功率和场强值。天线增益是相对于一个(理论上的)全向参考天线(dBi)来表示的。射频功率也称为射频芯片的发射功率。
= − +等效全向辐射功率 (dBm) [射频功率 (dBm)][电缆损耗 (dB)][天线增益 (dBi)]
这是将瓦特转换为dBm的公式。dBm代表毫瓦分贝当量(表 14.1)。
= = =PPdBm 10 *(log(1000 * )) [功耗(瓦特),1000 mW 1瓦特]
| 表 14.1 毫瓦分贝当量 | |
|---|---|
| dBm | 瓦特 |
| 0 | .001 |
| 15 | .032 |
| 24 | .250 |
| 27 | .500 |
| 30 | 1.000 |
| 36 | 4.000 |
14.2.3 RSSI
RSSI 是对接收无线电波信号中所含功率的测量值。RSSI 是一种通用的无线接收器技术指标,对于包含接收器的设备用户而言通常不可见,但对于使用 IEEE 802.11 协议族的无线网络用户来说则直接可知。RSSI 类似于手机终端上显示的信号格数。
14.2.4 丢包率
丢包率(PER)是指错误接收的数据包数量与接收到的总数据包数量之比。如果一个数据包中至少有1个比特出错,则该数据包被视为错误。
14.2.5 吞吐量
在通信网络中,例如以太网或分组无线电,吞吐量或网络吞吐量是指通过通信信道成功传输消息的平均速率。这些数据可以通过物理链路或逻辑链路传输,或经过特定的网络节点。吞吐量通常以每秒比特数(bit/s 或 bps)来衡量,有时也以每秒数据包数或每个时隙的数据包数来衡量。系统吞吐量或聚合吞吐量是指网络中所有接线端子接收到的数据速率之和。
14.2.6 带宽
带宽或数字带宽是衡量数据传输速率、比特率或吞吐量的指标,单位为每秒比特数。它反映了网络的容量,即有多少流量或数据可以通过该网络。
带宽是指电子信号在特定传输介质上所使用的频率范围(或频带)的宽度。在此用法中,带宽以最高频率信号分量与最低频率信号分量之间的差值来表示。频带的宽度越高,数据传输能力就越强。
14.2.7 时分多址(TDMA)
时分多址(TDMA)是一种用于共享介质网络的信道接入方法。它通过将信号划分为不同的时间槽,允许多个用户共享相同的频率信道。用户依次快速传输,每个用户使用自己的时间槽。这使得多个站点可以共享相同的传输介质(例如射频信道),同时仅使用其信道容量的一部分。
14.2.8 频率跳变
跳频扩频(FHSS)是一种通过伪随机序列快速在多个频率信道之间切换载波来传输无线电信号的方法,该序列为发射器和接收器所共同知晓。它被用作跳频码分多址方案中的一种多址接入方法。
扩频 m 传输相比固定频率传输具有三大主要优势 :
• 扩频传输信号对窄带干扰具有很强的抗干扰能力。重新收集扩频信号的过程会将干扰信号分散,使其退回到背景中。
• 扩频传输信号难以被截获。跳频扩频信号对于窄带接收器而言,仅仅表现为背景噪声的增加。只有在知道伪随机序列的情况下,才能截获该传输信号。
• 扩频传输可以与多种常规传输共享一个频段,且相互之间产生最小的干扰。扩频传输信号给窄带通信带来的噪声极小,反之亦然。这使得带宽得以高效利用。
14.2.9 干扰
干扰是一种在信号从源端到接收器沿信道传播过程中改变、修改或中断信号的现象。该术语通常指将不需要的信号添加到有用信号中。常见的例子包括:
• 电磁干扰(EMI)
• 同信道干扰(CCI),也称为串扰
• 邻道干扰(ACI)
• 符号间干扰(ISI)
• 载波间干扰(ICI),由正交频分复用(OFDM)调制中的多普勒频移引起
• 共模干扰(CMI)
• 传导干扰
14.2.10 天线类型和增益
天线的作用是收集并转换电磁波为电子信号。然后传输线将这些信号引导至接收机前端。在选择天线之前,必须了解其中心频率和工作带宽。天线尺寸与工作频率成正比。较高的工作频率对应较小的天线尺寸。天线增益始终以已知参考源进行测量,例如全向辐射源(dBi)或半波偶极子(dBd)(表14.2)。
将天线增益提高3 dB通常需要将天线尺寸增加2到3倍,或减小波束宽度。垂直全向天线和同轴阵列用于与地面移动单元进行视距通信。扇区分区可通过面板天线实现。固定点对点链路通常使用八木天线或抛物面天线。天线具有互易性,这意味着它们在用作发射或接收时具有相同的增益。
14.2.10.1 IEEE 802.11
802.11标准是由IEEE定义的一组不断发展的规范。通常被称为Wi‐Fi,802.11标准规定了无线客户端与基站接入点之间或两个及以上无线客户端之间的空中接口。IEEE还定义了许多其他标准,例如802.3以太网标准。
14.2.10.2 IEEE 802.11b
1995年,美国联邦通信委员会分配了多个无线频谱频段供无需许可证使用。联邦通信委员会规定使用扩频技术设备。1990年,IEEE开始研究一项标准。1997年,802.11标准获得批准,现已过时。随后在1999年7月,802.11b标准获得批准。802.11标准在2.4 GHz ISM频段提供最高理论11兆比特每秒(Mbps)的数据速率。
14.2.10.3 IEEE 802.11g
2003年,IEEE批准了802.11g标准,其在2.4 GHz ISM频段的最大理论数据速率为54 Mbps。由于距离增加、障碍物引起的衰减(信号损耗)或频段内噪声较高,信号强度会减弱;为保持连接,数据速率将自动调整为较低速率(54/48/36/24/12/9/6 Mbps)。
当802.11b和802.11g客户端同时连接到802.11g路由器时,802.11g客户端的数据速率会降低。许多路由器允许混合使用802.11b/g客户端,或者可设置为仅支持802.11b或仅支持802.11g客户端。
以54 Mbps为例,如果你使用数字用户线路(DSL)或电缆调制解调器服务,通常提供的数据速率范围为768 Kbps(低于1 Mbps)到6 Mbps。因此,802.11g为大多数用户提供了极具吸引力的数据速率。802.11g标准与802.11b标准向后兼容。目前,802.11g仍然是最广泛部署的标准。
14.2.10.4 IEEE 802.11a
802.11a 的批准发生在 1999 年。802.11a 标准使用 5 GHz频谱,最大理论数据速率为 54 Mbps。与 802.11g 类似,当由于距离增加、障碍物引起的衰减(信号损失)或频段内噪声较高导致信号强度减弱时,数据速率会自动调整为较低速率(54/48/36/24/12/9/6 Mbps)以维持连接。5 GHz频谱比较低频率(如 2.4 GHz)具有更高的衰减(更多的信号损失)。
| 表14.2 天线类型及其典型增益 | |
|---|---|
| 天线类型 | 典型增益(dBd) |
| 偶极子天线 | 0 |
| Omni 增益全向 | 0 |
| 移动鞭状天线 | 3–12 |
| 角反射器 | −0.6 到 +5.5 |
| 对数周期 | 4–10 |
| Horn | 3–8 |
| 螺旋 | 5–12 |
| 微带贴片 | 5–12 |
| Yagi | 3–15 |
| 面板 | 3–20 |
| 抛物面 | 5–20 |
802.11b/g 标准。穿墙性能比 2.4 GHz 差。支持 802.11a 的产品通常用于大型企业网络或户外骨干网中的无线互联网服务提供商。
14.2.10.5 IEEE 802.11n
2004年1月,IEEE 802.11任务组启动了制定规范的流程。在此期间出现了 numerous 草案规范、延迟以及委员会成员之间缺乏协议的情况。所提出的修正案现已推迟至2010年初。需要注意的是,该标准已经被多次延期。因此,802.11n目前仅处于草案状态。这意味着在最终批准之前,其规范仍有可能进行修改。
802.11n的目标是显著提高数据吞吐率。除了多项技术改进外,一个重要变化是引入了多输入多输出(MIMO)和空间复用。MIMO使用多个天线,需要多个无线电设备,因此功耗更高。
802.11n 计划在 2.4 GHz(802.11b/g)和 5 GHz(802.11a)频段上运行。这可能在安装 802.11n 设备时需要进行重要的现场规划。802.11n 规范提供了 20 MHz 和 40 MHz 信道选项,而 802.11a 和 802.11b/g 标准仅支持 20 MHz 信道。通过绑定两个相邻的 20 MHz 信道,802.11n 在使用 40 MHz 信道时可提供双倍的数据速率。然而,在 2.4 GHz 频段中使用 40 MHz 会导致干扰,不推荐也不太可行,这会抑制 2.4 GHz 频段的数据吞吐量。建议在 2.4 GHz 频谱中使用 20 MHz 信道,如同 802.11b/g 所采用的方式。为了获得最佳的 802.11n 效果,5 GHz 频谱是最佳选择。802.11n 的部署需要在频率和信道选择方面进行一定的规划。某些 5 GHz 信道必须采用动态频率选择技术才能使用这些特定信道。
802.11n 的另一个考虑因素是功耗显著增加,这主要是由于相比当前的 802.11b/g 或 802.11a 产品使用了多个发射器所致。
14.3 ISA100标准
14.3.1 概述
ISA100标准采用开放系统互连(OSI)分层描述方法来定义协议套件规范,以及工业无线网络的安全性、管理、网关和配置功能规范。所支持的协议层包括物理层(PhL)、数据链路层(DL)、网络层(NL)、传输层(TL)和应用层(AL)。
本标准的一些显著特点如下:
• 互操作性:为了确保符合本标准的设备在不同供应商之间的互操作性,所有必需的协议行为均在本标准正文中进行了描述。这些内容也汇总为对这些设备所期望的最低能力。符合这些行为和能力的设备可构成功能性的无线网络并相互进行互操作。
• 服务质量(QoS):本标准支持多级服务质量,以满足网络内不同应用程序的多样化需求。服务质量描述了延迟、吞吐量和可靠性等参数。
• 全球适用性:本标准旨在符合所有已确立的法规主要世界地区(例如北美洲、南美洲、亚洲、欧洲、非洲和澳大利亚);然而,它可能适用于所有监管环境。
• 可扩展性:该架构支持无线系统覆盖从单个小型孤立网络(如天然气或油井、非常小的机械车间)到包含数千台设备和多个网络、覆盖数平方公里工厂的集成系统的物理范围。由多个子网组成的网络中可参与的设备数量在技术上没有限制。子网是一组共享特定数据链路层配置的设备,最多可包含30,000台设备(受限于子网地址空间)。通过使用多个子网,网络中的设备数量可以线性扩展。
• 可扩展性:本标准定义的协议具有诸如为未来使用保留的字段等能力,这些字段是头部中包含版本号,使得未来版本能够在不牺牲向后兼容性的情况下提供额外或增强的功能。
• 简单操作:配置后,设备可自动加入网络。自动设备加入和网络形成使得系统配置对具备专业射频技能或工具的人员需求降至最低。此外,本标准支持使用完全冗余和自愈路由技术以减少维护。
• 免许可操作:本标准基于符合IEEE标准的无线电设备802.15.4:2006 在 2.4 GHz ISM频段 运行,该频段在全世界大多数国家均可使用且无需许可证。
• 在存在干扰和非无线工业传感器网络情况下的鲁棒性:该标准支持跳频,以提供针对在同一频段内运行的其他射频设备干扰的抗扰性,并提高鲁棒性以缓解多径干扰影响。此外,本标准通过使用自适应信道跳变来检测并避免使用频谱中已被占用的信道,从而促进与其他射频系统的共存。自适应信道跳变还可以通过避免使用性能持续较差的信道来增强可靠性。
• 确定性或无竞争介质访问:本标准定义了TDMA机制,该允许设备访问射频介质而无需等待其他设备。通过使用可配置的固定时隙持续时间(例如在10–12毫秒范围内)实现时间同步通信,为每个设备分配专属于该设备及其通信目标设备的时隙和信道。这些时隙持续时间可基于每个超帧进行配置。超帧是一组循环的时隙。配置时隙持续时间的能力使得:
• 更短的时隙以充分利用优化的实现
• 更长的时隙以适应
• 延长的数据包等待时间
• 来自多个设备的串行确认(例如双播)
• 在时隙开始时采用载波侦听多路访问(CSMA)(例如,用于优先访问共享时隙)
• 长度扩展的慢速跳频周期
支持为可预测的常规流量提供专用时隙,以及为报警和突发性流量提供共享时隙。此外,还支持发布、客户端/服务器、报警报告和批量传输流量。
• 支持冗余的自组织网络:完全冗余和自愈路由技术(如网状路由)可在变化的射频和环境条件下支持端到端网络可靠性。某些特殊特性可使网络自适应调整所用频率(例如自适应跳频),结合网状路由,能够在无需用户干预的情况下自动缓解共存问题。
• 与互联网协议(IP)兼容的网络层:本标准的网络层使用与互联网工程任务组 6LoWPAN标准兼容的报头格式,以促进将6LoWPAN网络用作骨干网。需要注意的是,本标准采用与6LoWPAN兼容的头部格式,并不意味着骨干网必须基于IP。此外,使用基于6LoWPAN和IP的报头格式,并不表示基于本标准的网络会向互联网黑客开放;事实上,基于本标准的网络通常甚至不会连接到互联网。
• 强大且灵活的安全性:所有合规网络均配备安全管理器,用于管理和认证加密密钥。安全性在数据链路层和传输层采用IEEE 标准 802.15.4:2006定义的安全原语,提供消息认证、完整性保护以及可选隐私保护。设备认证通过使用对称密钥和唯一设备标识实现,同时也支持非对称密钥选项。在正常运行期间,发送方和接收器共享秘密对称密钥,从而可验证接收数据的真实性。在配置过程中,系统管理器可通过新设备公开共享的公钥及该设备内部保存的相应非对称私钥,选择性地验证来自新设备的设备凭证的真实性。消息通过默认的AES 128分组密码或其他本地规定的加密原语进行保护。设备间通信采用对称密钥进行安全保护。
• 系统管理:本标准包含用于管理各个设备上的通信资源以及影响端到端性能的系统资源的功能。系统管理支持对运行时配置进行基于策略的控制,并监控和报告配置、性能、故障情况和运行状态。系统管理功能参与以下活动:
• 设备加入和离开网络
• 报告网络中发生的故障
• 通信配置
• 时钟分配的配置和系统时间的设置
• 设备监控
• 性能监控与优化
系统安全管理与系统管理功能及可选的外部安全系统协同工作,以实现安全系统操作。所有管理功能均可通过网关远程访问。
• 使用标准对象的应用过程:本标准应用过程表示为包含一个或多个通信组件的标准对象,这些通信组件来自一组标准定义的应用对象。这些对象提供对应用过程数据的存储和访问。定义标准对象以明确的方式提供了分布式应用能力的开放表示,从而使得独立实现能够互操作。这些对象的定义旨在实现现场设备之间的交互。
• 隧道传输:隧道传输是一种机制,通过该机制,本标准定义的原生协议允许设备封装外部协议数据单元,并通过网络将这些外部协议数据单元传输到目标设备(通常是网关)。隧道传输的成功应用取决于无线网络实例在多大程度上满足外部协议的技术要求(例如时序、延迟等)。
14.3.2 网络架构
14.3.2.1 网络描述
图14.2 描述了本标准所涉及的通信领域,以及本标准范围之外的领域(阴影部分)。在 图 14.3 中,圆形对象表示现场设备(传感器、阀门、执行器等),矩形对象表示基础设施设备,这些设备通过与网络基础设施骨干网络的接口与其他网络设备进行通信。骨干网是一种数据网络(最好是高数据速率),不由本标准定义。该骨干网可以是工业以太网、IEEE 802.11 或工厂内连接到工厂网络的任何其他网络。
符合标准的网络
现场网络由一组现场设备组成,这些设备使用本标准定义的协议栈进行无线技术通信。如 图14.3所示,某些现场设备可能具有路由功能,使其能够转发来自其他设备的消息。
中继网络由骨干网上的基础设施设备组成,例如骨干路由器、网关、系统管理器和安全管理器。由于骨干网的物理通信介质及其网络协议栈不在本标准的范围内,因此未作具体规定,可能包括通过外部传输或应用层进行合规数据包的隧道传输。
连接两个不同网络的设备必须具有两个接口。骨干路由器同时具有现场网络接口和骨干网接口。网关至少具有一个网络接口(骨干网或现场网络)和一个工厂网络接口
骨干网络
14.3.2.2 网络特性
工业无线网络的特性包括:
• 工业工作环境中无线设备与其他无线技术的共存
• 安全性,包括数据完整性、加密、数据真实性、重放保护和延迟保护
• 所有通信设备的系统管理 支持使用标准对象的应用进程
• 支持隧道传输(通过无线网络传输其他协议)。
14.3.2.3 与其他射频系统的共存
该系统架构专门设计用于与符合本标准的其他无线系统共存,同时还可与其他在2.4 GHz频段运行的网络(如ZigBee™、WirelessHART™、6LoWPAN协议网络、IEEE 802.11、蓝牙™ 以及射频识别(RFID)系统)共存。
采用极短的、时间同步的通信方式有助于减少射频频段拥塞,并允许邻近系统在丢包后快速恢复。在跳频过程中缩短信道操作时间,可降低对其他无线电系统的影响,并提高在干扰存在下的可靠性,因为消息可以在未受干扰的其他信道上重新发送。自适应跳频通过避开已被占用的信道,进一步增强了共存能力。本标准支持使用空闲信道评估来避免与其他非同步系统发生冲突。该架构通过跳频以及使用自动重传请求(ARQ),支持在受到非故意辐射源(如微波炉)干扰时的正常运行。ARQ 是一种用于数据传输的错误控制方法,通过确认消息成功接收以及在接收出错时进行延迟重传,以实现可靠数据传输。
14.3.2.4 共存策略
本标准采用了多种策略,同时用于优化与2.4 GHz无线电频谱其他用户的共存:
• 利用基础设施高速通信链路:多跳网络会多次重复相同的消息。该架构的一个基本能力是尽可能直接地将数据传送到基础设施通信链路(优选高数据速率且低误码率),从而通常将本标准的射频信道使用减少到每次报告仅需一到两条数据链路层(DL)消息或DL跳数。
• 时隙操作:通过时隙操作和调度传输,可最大限度减少子网内的冲突,从而避免因重试而造成信道的不必要占用。
• 射频类型选择:物理层(PhL)的无线电设备选择依据是其与重叠的IEEE标准802.11射频设备能否同时传输而不导致数据丢失。
• 低占空比:这可确保重点应用程序的数据传输,从而最小化网络开销。
• 断奏式传输:预期的传输非常短(所选PhL的特征),即非突发性,使得共置的IEEE标准802.11网络在丢包时能够快速恢复。
• 时间分集:许多聚焦的应用程序对延迟的要求比频谱其他用户更宽松,从而提供了利用时间分集实现共存的机会。可配置的重试周期可能跨越数百毫秒,使系统能够与频谱其他用户共存,这些用户可能需要使用该频段进行高优先级的突发活动。
• 信道分集:无线电的低占空比分布在16个信道上,在许多现实场景下,进一步将最坏情况下的干扰机会减少到预期的1%以下。
• 频谱管理:用户可以在DL子网内配置超级帧,以限制在特定无线信道上的操作。
• 自适应信道跳变:数据链路(DL)能够针对每个链路避免存在问题的信道,例如出现IEEE 802.11交叉干扰或持续多径衰落的信道。
• 碰撞避免:数据链路支持CSMA‐CA碰撞避免,使用时可检测IEEE 802.11能量并延迟其传输,以减少对IEEE 802.11网络的干扰。
• 重传时更改物理层有效载荷:由于数据链路固有的安全性,重传具有不同的物理层有效载荷,从而降低了外部设备将数据包误认为属于自身的概率。
• 这些技术不仅限于IEEE 802.11标准共存,还能在优化首次尝试成功率的同时,改善与共享2.4 GHz频段的各种设备的共存性能。
14.3.3 系统
在ISA100标准中,系统以应用程序为核心,关注应用程序及其需求。而网络则以通信为核心,专注于设备间通信任务。由于核心应用程序需要通信,因此网络是系统的一个部件。
14.3.4 设备
设备包含物理层(PhL)、数据链路层(DL)、网络层(NL)、传输层(TL)和应用层(AL)等协议层的组合,并可能包括系统管理器、安全管理器、网关和配置等功能。
14.3.4.1 设备互操作性
设备互操作性是指来自多个厂商的设备能够相互通信并维持完整网络的能力。设备互操作性包括对设备的各种选项、配置设置和能力的控制:
• 选项:启用所有设备互操作,无论其实施的选项(在本标准内定义的选项)如何。也可以禁用(即不使用)某些选项。
• 配置设置:系统管理器负责配置无线设备及其设备所实现的角色。
• 能力:根据设备在系统中的角色,必须满足最低能力要求。
14.3.4.2 配置文件
配置文件可以描述为穿过协议层的垂直切片。它定义了每个协议层中该配置文件所必需的选项,同时还定义了每个协议的配置和参数范围。配置文件概念降低了不同制造商产品之间设备互操作性问题的风险。
ISA100标准描述了两种类型的配置文件:
• 角色配置文件:角色配置文件是指设备充分履行该角色所需的基本能力,包括任何选项、设置和配置。
• 静默无线电配置文件:静默无线电配置文件是指实施无线电静默所需的配置设置。其主要目的是防止无线电在不适当的时间进行传输,例如在传输不安全或法规禁止无线电传输时。
14.3.4.3 服务质量
服务质量指的是设备内应用程序正常运行所需的必要服务。该服务质量由系统管理器与请求设备之间通过合同约定。当设备内的应用程序希望以特定的服务质量级别进行通信时,会向系统管理器发送请求,通知其希望与特定目标进行通信,并要求达到给定的服务质量级别。所需的服务质量级别包括期望的合同和消息优先级,以及可靠性、周期性、相位和周期性消息的截止时间,还包括客户端‐服务器消息的短期突发速率、长期突发速率和未完成请求数量上限。
14.3.4.4 设备全球适用性
为允许设备符合特定地区的法规,符合本标准的设备不得实施任何会妨碍其在这些地区运行的特性。
14.3.5 设备描述
设备是实现和操作ISA100标准中网络所需的行为、配置设置和能力的物理体现。根据应用程序、环境以及在网络中的功能,存在多种不同类型的设备。为了充分描述必要的网络行为而不定义具体的设备实现,本标准定义了设备可能具备的角色、协议层和现场介质。
角色定义了一组功能和能力。本标准定义了网络正常运行所需的所有角色,包括系统管理器、安全管理器、网关、骨干路由器、系统时间源、配置、路由器和I/O设备。尽管所有符合本标准的设备至少实现一个角色,但一个设备可以实现多个角色。
协议层描述了所需的行为。并非所有设备都必须实现本标准中定义的所有协议层。但是,符合本标准的所有设备都应实现网络和传输层,以及DMAP功能。每个设备都包含一个设备管理功能和一个设备安全管理功能,这些功能与系统进程协同工作,以实现对设备系统资源(包括其使用)的安全管理。
现场介质是本标准中所述的物理层和数据链路层的组合。尽管并非所有设备都需要实现现场介质,但实现输入/输出、路由或骨干网路由角色的设备必须至少实现本标准中定义的一个现场介质。
图14.4说明了设备(制造商提供的设备)与其可能承担的角色之间的区别。
物理设备与角色
图14.4显示了一个符合ISA100标准的简单而完整的网络。该网络中包含多种类型的设备,包括传感器、执行器、路由器、掌上电脑和工作站。如图所示,这些设备中的每一个都可以在网络中承担不同的角色。例如:
• 工作站承担了网关、系统管理器和安全管理器的角色。
• 两个设备已承担起骨干路由器的角色,而另外七个设备已承担路由器的角色。
• 一个传感器(位于左下角)、多个执行器和一台便携式计算机已承担起I/O设备的作用。
图中左下角的路由器已承担配置角色,并对新引入的设备进行配置。两个传感器设备均已承担路由器和输入/输出角色。
14.3.6 角色定义
14.3.6.1 输入/输出
具有 I/O 角色的设备可作为数据源或数据接收端,并且至少拥有一个用户应用进程 (UAP) 对象。仅具有 I/O 角色的设备具备参与符合本标准的网络所需的最低特性。I/O 角色不提供向任何其他设备转发或路由消息的机制。这使得设备可以以最低的复杂性和能耗进行构建,因为它们无需消耗能量来路由其他设备的消息。
14.3.6.2 路由器
具有路由器角色的设备具备路由功能,应充当代理,并具有时钟传播能力。这些设备可以为网络提供范围扩展和路径冗余,并且可能在每条消息的基础上提供不同级别的服务质量(QoS)。系统管理器可能会禁用路由器角色的路由功能,以优化系统性能要求,如消息延迟或电池消耗。实现路由器角色的设备应实现A型现场介质。
14.3.6.3 配置
具有配置角色的设备(配置设备)可对设置为出厂默认设置的设备进行配置,并实现设备配置服务对象。配置设备将所需的配置数据插入设备中,以允许该设备加入特定网络。实现物理层的设备能够通过定义的物理接口进行配置。此功能可以被禁用。实现配置角色的设备支持A型现场介质。
14.3.6.4 骨干路由器
具有骨干路由器角色的设备可通过骨干网进行路由,并作为使用骨干网的代理。骨干路由器通过封装协议数据单元(PDU)以实现传输,从而使外部网络能够承载原生协议。这使得本标准所描述的网络可以利用其他网络,包括通信距离更长或性能更高的网络。虽然骨干网络的介质和协议套件未在本标准中定义,但预计许多骨干路由器的实例将应用于IP网络。这些骨干网络大多符合IPv4,而非较新的IPv6。实现IP接口的骨干路由器支持使用IETF rfc2529,以便在IPv4骨干网上传输WISN 传输层协议数据单元(TLPDU)。
实现骨干路由器角色的设备必须实现A型现场介质以及骨干网网络接口,除非该设备同时实现了网关、系统管理器或安全管理器角色,此时A型现场介质为可选。
14.3.6.5 网关
具有网关角色的设备实现高端接口,源和接收数据,并具有UAP。网关角色提供现场设备与工厂网络之间,或直接与工厂网络上的终端应用之间的接口。更一般地说,网关标志着符合本标准的通信与其他通信之间的过渡,并在本标准的应用层与其他应用层之间起到桥梁作用。一个系统中可以存在多个网关。
实现网关角色的设备需实现路由器角色以接入A型现场介质,或实现骨干路由器角色以接入骨干介质。
14.3.6.6 系统管理器
实现系统管理器角色的设备需实现SMAP并设置时间源树。
系统管理器是一种专门用于管理网络、设备和通信的功能。系统管理器执行对网络运行时配置的基于策略的控制,监控并报告通信配置、性能和运行状态,同时提供与时间相关的服务。
设备通过合同进行通信。合同是网络中系统管理器与设备之间达成的协议,涉及系统管理器为支持该设备特定的通信需求而进行的网络资源分配。该合同在两个设备中的应用程序与系统管理器之间建立。系统管理器为合同分配一个合同ID,设备内的应用程序使用该合同进行通信。应用程序只能请求创建、修改或终止合同。创建、维护、修改和终止合同的唯一责任在于系统管理器。
实现系统管理器角色的设备,需实现路由器角色以接入A型现场介质,或实现骨干路由器角色以接入骨干介质。
14.3.6.7 安全管理器
系统安全管理是一项专门的功能,与系统管理器和可选的外部安全系统协同工作,以实现安全系统操作。安全管理器在逻辑上是可分离的,在某些情况下位于单独位置的独立设备上。每个符合本标准的系统都应配备安全管理器。
系统管理器与安全管理器之间的通信协议套件不由本标准定义。
14.3.6.8 系统时间源
实现系统时间源角色的设备即为该系统的主时间源。时间感知是标准的重要组成部分,用于管理设备操作。系统时间源为整个系统提供时间感知。
实现系统时间源角色的设备还实现输入/输出、路由器、骨干路由器、系统管理器或网关角色中的任何一种。
14.3.7 现场介质
ISA100标准定义了一种特定的现场介质,即A型。现场介质类型定义了物理层和数据链路层的协议。本标准的未来版本可能包含多种现场介质类型。A型现场介质由本标准规定的物理层和数据链路层组成。
14.3.8 设备寻址
每个实现A型现场介质的设备均由系统管理器分配一个用于本地寻址的16位DL子网地址。每个设备都有一个唯一的64位EUI地址。
每个设备还具有一个由系统管理器分配的128位网络地址。系统管理器可以选择将128位地址作为逻辑地址分配,以维护应用层在设备更换时的链接。应用程序可在加入过程完成后,使用128位地址来访问系统中的特定设备。
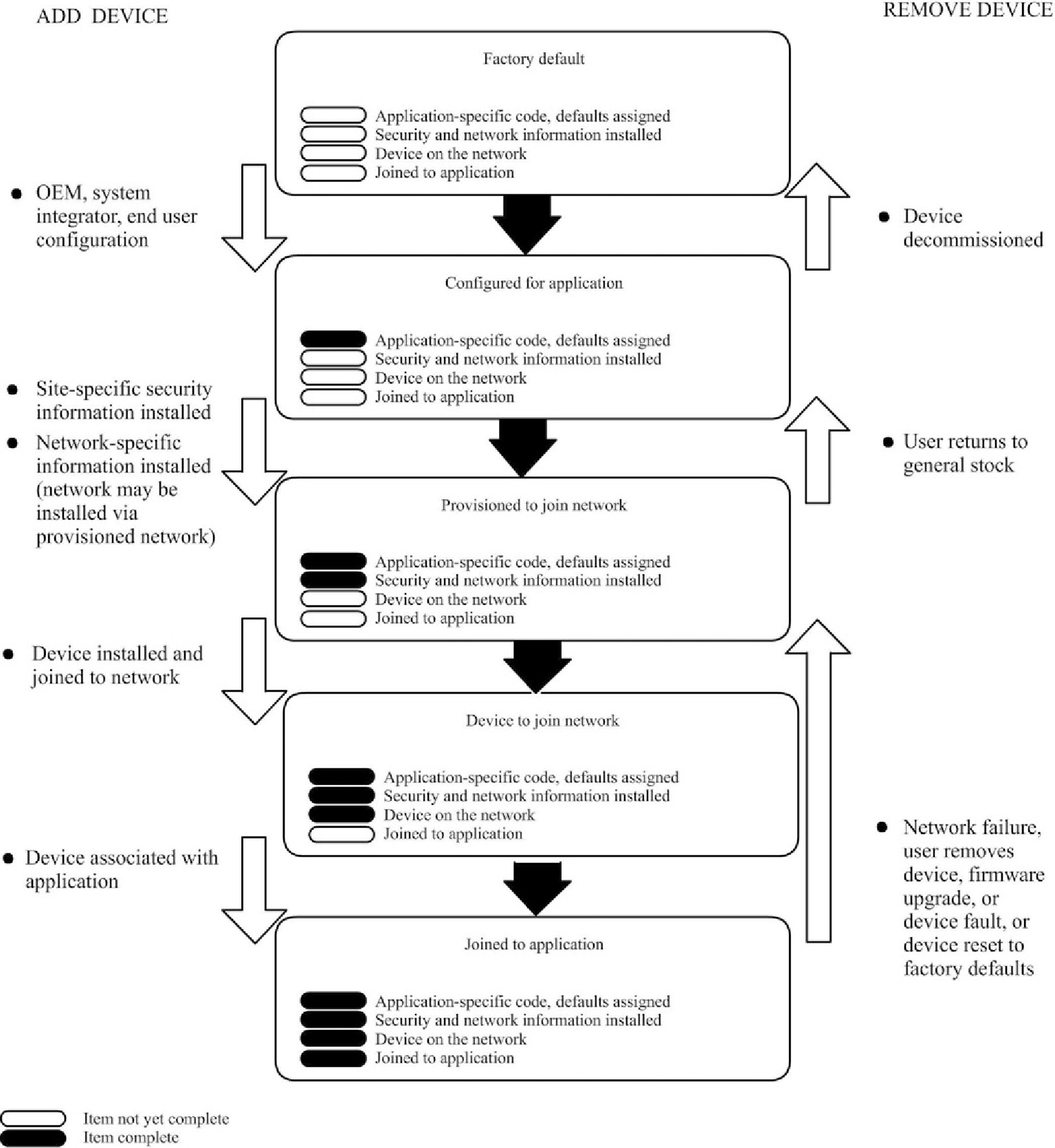
14.3.9 设备阶段
设备在其运行寿命期间可能会经历多个阶段。每个阶段内包含多个状态。图14.5展示了设备生命周期各阶段的概念表示。
设备阶段的概念表示
设备在调试和使用、随后停用并为不同应用程序重新启用的过程中,可能会经历这些阶段多次。加入网络后,设备可以报告其状态,以便应用程序了解设备是否可访问以及是否已加入应用程序。
14.3.9.1 出厂默认设置
如果设备尚未配置或调试任何应用程序或网络特定信息,则被视为未配置设备。未配置设备可能来自制造商,也可能由于停用而进入未配置状态。
14.3.9.2 为应用程序已配置
当设备接收到其自身的应用专用编程并且所有适当的默认设置均已应用时,即视为已为该应用程序配置。用于特定应用的已配置设备可由制造商提供,也可由系统集成商或其他增值经销商提供,并且已经为预期的应用程序进行了已供应。可以进行空中应用软件更新,但这些更新在设备应用层进行处理。
14.3.9.3 已供应以加入网络
当设备获得适当的安全凭证和网络特定信息后,即被供应以加入网络。设备通常在其为安装到应用程序中做好准备时进入此阶段。通常情况下,设备不会直接与安全管理器通信;而是由系统管理器将请求转发给安全管理器。
14.3.9.4 可访问设备
当设备已加入网络并经过系统管理器认证时,该设备被视为可访问的。可访问设备可以与系统管理器通信。
在此相位中,设备上的应用程序对象可以向对等设备上所需的应用程序对象发送或接收信息。
14.3.9.4.1 设备能源类型
ISA100标准不限制设备可能使用的能源类型。该标准允许节能型设备行为使用合适的电池长时间运行(例如5–10年)。
能源类型可分为以下五类:
• 市电
• 有限电池(例如纽扣电池)
• 中等容量电池(例如铅酸)
• 可充电电池
• 环境能源或能量收集
实现输入/输出或路由器角色的设备可能需要使用任何类别的能源。安全管理器、系统管理器、网关和骨干路由器的角色通常对性能要求较高;因此,建议实现这些角色的设备配备较大的能源,例如市电或中等容量电池类别。
设备的能源状态对于正确的系统管理至关重要。所有设备都会向系统管理器提供电源信息。此信息可用于路由决策。
14.4 网络
网络的主要重点是设备间通信。网络通信能力包含多个方面,这些方面包括原子网络、网络拓扑、网络内的设备关系、协议套件结构以及共享时间的概念。
14.4.1 最小网络
最小网络是指实现最少角色数量的最少设备组成的网络。网络所需的最少角色包括系统管理器、安全管理器、配置、系统时间源和输入/输出。系统管理器和安全管理器是两个独立的角色,可以位于同一设备中,也可以分布在两个物理设备上。单个物理设备可承担多个角色。最小网络应由两个相互通信的设备组成,其中一个设备实现系统管理器和安全管理器的角色,另一个设备实现配置、系统时间源和输入/输出的角色。
一个包含四个现场设备和一个基础设施设备的代表性小型网络如图14.6所示。尽管此类网络是非典型的,但它代表了一个小型合规系统。在此网络中,单个物理设备承担了网关、系统管理器和安全管理器的角色。
14.4.2 支持的网络拓扑
以下图 14.6, 14.7、14.8 和 14.9 等提供了多个示例,说明了系统架构的灵活性。这些示例集并非穷尽所有情况。此处列出这些示例仅用于更好地理解系统元素。
14.4.2.1 星型拓扑
本标准支持如图14.6所示的简单星型拓扑。
这种系统配置可以在物理层实现尽可能低的延迟。它在架构上非常简单,但仅限于单跳范围。
14.4.2.2 星型-轮辐拓扑
使用骨干路由器扩展网络可使用户构建中心辐射型网络,如图14.7所示,其中设备围绕每个骨干路由器聚集,从而接入高速骨干网。
在这种情况下,与简单星型拓扑相比,延迟略有下降,但整体吞吐量可以增加,并且在大型系统中,由于有多个数据通道可用(每个骨干路由器各有一个),平均延迟可能会降低。尽管网络可以进一步远离网关扩展,但它仍然受限于骨干路由器周围的单跳范围。
14.4.2.3 网状拓扑
本标准支持网状网络拓扑结构,如图14.8所示。
在某些情况下,设备能够支持的路由数量可能受限。通过支持多跳通信可扩展范围。延迟会增大,但可通过合理安排传输调度来最小化。由于设备资源被用于转发消息,吞吐量会降低。通过使用路径多样性可提高可靠性。
14.4.2.4 星型-网状拓扑
星型拓扑与网状拓扑的结合如图14.9所示。这种配置的优点在于限制了网络中的跳数。
简单星型拓扑
简单的中心辐射型拓扑
网状拓扑
简单星形‐网状拓扑
14.4.3 拓扑结构的组合
ISA100标准允许组合使用各种拓扑结构,以构建最能满足应用程序需求的配置。例如,覆盖工厂内大范围物理区域的监控系统可以采用星型‐网状拓扑,或中心辐射型与星型‐网状拓扑的组合,而某些对延迟要求严格的控制应用程序则可能从中受益于纯星型或中心辐射型拓扑结构。系统的灵活性允许所有这些拓扑结构以任意组合方式和谐运行。
14.5 网络配置
ISA100标准的数据链路层子网由一个或多个无线设备组组成,这些设备共享一个系统管理器以及(在适用情况下)共享一个骨干网。尽管数据链路层子网在骨干路由器处终止,但网络路由可以延伸至骨干网和工厂网络中。一个完整的网络包括所有相关的数据链路层子网以及其他通过骨干网连接的设备,例如网关、系统管理器或安全管理器。图14.10和图14.11说明了数据链路层子网与工厂网络之间的区别。
图14.10 描述了一个简单的网络,该网络由一组称为DL子网的无线设备以及管理DL子网并将它们连接到其他网络的附加设备组成。在 图14.10 中,网络与DL子网是相同的。
DL子网由路由和I/O设备组成。设备之间的实线表示设备之间建立的第一条路由,而虚线表示第二条路由、第三条路由,依此类推。消息可以使用任何一条已知路由进行传输。
在图14.10和14.11中,标有G,M,S的框表示在此简单网络中,三个独立角色组合到一个物理设备中的集合:
• 一个网关
• 系统管理器
• 安全管理器
在 图14.11中,DL子网包含一组现场设备,直至骨干路由器(标有B的框)。骨干路由器通过连接到网络骨干,减少消息原本所需的跳数;这可以提高可靠性、降低延迟,并扩展网络的覆盖范围。
图14.11中的网络包含DL子网、骨干网以及位于骨干网上的网关、系统管理器和安全管理器。
网络和数据链路层子网重叠
网络和数据链路层子网不同
14.5.1 多个网关:冗余和附加功能
图14.12展示了具有三个网关设备的不同物理层配置。其中一个网关设备还实现了系统管理器和安全管理器功能。
具有多个网关的网络
网关设备可以是相同的(即镜像的,用于冗余)或唯一的,例如,每个网关实现一个软件应用程序,以处理特定类别的设备与连接到工厂网络的控制系统之间的通信。
14.5.2 多个网关:指定备用网关
本标准未定义备用网关的功能,也未定义备用网关的同步机制。
图14.12 与 图14.13 类似,但增加了一个额外的 G,M,S设备(网关、系统管理器和安全管理器)。这两台G,M,S设备具有相同的功能,可通过未由ISA100标准规定的反向通道机制交换同步消息来协调其操作。单台G,M,S设备可负责所有网关、系统管理器和安全管理器功能,另一台G,M,S设备则作为热备用设备,在需要之前保持空闲状态。或者,两台G,M,S设备可分担工作负载,直到其中一台发生故障。
具有备用网关的基本网络
14.5.3 添加骨干路由器
在图14.14所示的基本网络基础上,增加了骨干路由器(标有B的框),以促进符合本标准的网络在设备数量和网络覆盖区域方面的扩展。
带骨干网的网络
14.6 网关、系统管理器和安全管理器
G,M,S设备在图14.10–14.12和14.14中所承担的功能角色可以拆分为多个物理上分离的设备,如图14.15所示,使得网关G、系统管理器M和安全管理器S各自在独立的设备上运行。
图14.16中所示的物理层分离的网关、系统管理器和安全管理器只能在具有网络骨干的网络中实现。
14.6.1 数据流
以下描述旨在提供数据在系统中流动方式的示例。这些示例集并不穷尽所有情况。
14.6.2 原生通信
设备通过网络仅使用ASL定义的服务进行通信;有效载荷被分为原生的或非原生的。
14.6.2.1 基本数据流
符合本标准的基本网络的稳态数据流,如图14.10所示。
I/O设备是DL子网内的传感器或执行器设备,包含本标准定义的物理层、数据链路层、网络和传输层,并运行处理传感器或执行器功能的应用程序。
路由器代表I/O设备路由消息。在DL子网内的路由完全在数据链路层进行,而不是在网络层。在实际网络中,设备与网关或骨干路由器之间的每一跳额外路径都有一个路由器。
网关在DL子网和工厂网络之间转换消息。运行在网关上的应用程序包含一个与I/O设备的应用层通信的组件,以及一个与控制系统应用层通信的组件,还包括任何促进两者之间转换的组件(例如缓存)。
带骨干网的网络——设备角色
物理层分离的网关、系统管理器和安全管理器
14.6.3 无线HART
无线HART是一种用于过程自动化应用的无线网状网络通信协议。它在保持与现有HART设备、命令和工具兼容的同时,为HART协议增加了无线技术能力(表14.3)。
HART协议实现了OSI七层协议模型的第1、2、3、4和7层。HART物理层基于Bell 202标准,采用频移键控以1200 bps进行通信。代表比特值0和1的信号频率分别为2200 Hz和1200 Hz。该信号以低电平叠加在4–20 mA模拟测量信号上,不会对模拟信号造成任何干扰。
HART数据链路层定义了主从协议——在正常使用情况下,现场设备仅在被询问时才回复。可以存在两个主设备,例如,控制系统作为主控制器,手持式HART通信器作为副控制器。
定时规则定义了每个主设备可以发起通信事务的时间。单个多点电缆对最多可连接15个或更多的从设备。
网络层提供路由、端到端安全和传输服务。它管理与通信设备之间的端到端通信“会话”。
数据链路层确保通信从一个设备成功传播到另一个设备。传输层可用于确保成功的端到端通信。
应用层定义了协议支持的命令、响应、数据类型和状态报告。在应用层中,协议的公共命令被分为四大类:
• 通用命令:它们提供了在所有现场设备中必须实现的功能。
• 通用实践命令:它们提供许多(但并非全部)现场设备共有的功能。
• 设备专用命令:它们提供特定现场设备独有的功能,由设备制造商指定。
• 设备系列命令:它们为具有特定测量类型的仪表提供一组标准化功能,可在不使用设备专用命令的情况下实现完全的通用访问。
每个无线HART网络包含三个主要元素:
• 连接到工艺或工厂设备的无线现场设备。该设备可以是内置无线HART的设备,也可以是已安装的支持HART的设备并附加了无线HART适配器。
• 网关可实现这些设备与连接到高速骨干网或其他现有工厂通信网络的主机应用程序之间的通信。
• 网络管理器负责配置网络、调度设备间的通信、管理消息路由以及监控网络健康状态。网络管理器可以集成在网关、主机应用程序或过程自动化控制器中。
该网络采用符合IEEE 802.15.4标准的无线电设备,工作在2.4 GHz ISM无线电频段。无线电设备使用直接序列扩频技术和跳频技术以提高通信安全性和可靠性,并通过时分多址(TDMA)实现网络中设备之间的同步、延迟控制通信。该技术已在多种过程控制行业的现场试验和实际工厂安装中得到验证。
网状网络中的每个设备都可以作为其他设备消息的路由器。一个设备不直接与网关通信,而是将其消息转发到最近的下一个设备。
| 表14.3 有线HART与无线HART的关键差异 | ||
|---|---|---|
| 规格字段 | 典型的HART规格 | 典型的无线HART规格 |
| 输出信号 | 4–20毫安HART | IEC 62591 无线HART |
| 电源 | 24V直流回路供电 | 本安型电池 |
| 更新速率 | 1秒 | 1秒至60分钟 |
| 防护类型/外壳 | 防爆 | 本质安全 |
设备。这扩展了网络的范围,并提供了冗余通信路径以提高可靠性。
网络管理器根据延迟、效率和可靠性来确定冗余路由。为了确保冗余路由保持畅通,消息在冗余路径之间持续交替传输。因此,与互联网类似,如果一条消息无法通过某条路径到达目的地,它将自动重新路由到已知可用的冗余路径,且不会丢失数据。
网状设计还使得添加或移动设备变得容易。只要设备在 网络 中其他设备的 范围 内,就可以进行通信。为了满足不同应用程序需求的灵活性,无线HART标准支持多种通信模式,包括过程和控制值的单向发布、异常时的自发通知、ad hoc请求/响应以及大数据集的自动分段块传输。这些能力使通信能够根据应用程序需求进行定制,从而降低功耗和开销。
无线技术为广泛的应用程序提供了机会——从在以往因物理或经济限制而无法实现测量的场合增加测量,到实现资产和人员追踪、安全性以及工人生产率等全厂功能。然而,无线HART规范团队认识到,并不存在一种适用于所有应用程序的单一技术。他们的方法是专注于那些尚无合适无线标准的核心过程自动化功能。
14.7 无线仪表的应用程序
无线仪表技术有多个应用领域。通常,工厂根据生产范围划分为两个区域。ISBL(装置内)定义了工厂生产区域。许多用于加工的公用设施和原材料并非总是在工厂内部生产。有些物品,如仪表空气、冷却水和蒸汽,是从OSBL(界区外设施),即工厂的外部供应的。除了公用设施外,原材料和产成品也来自OSBL,例如储罐区和存储区域。
主要应用程序如下。
14.7.1 装置内(电池限界内) 应用程序
装置内(电池限界内)区域的主要无线技术应用程序包括:
• 塔/反应器温度分布
• 锅炉/炉膛表面温度测量
• 压力、差压监测
• 单元间流量测量
• 电机轴承/绕组温度监测
• 重要手动阀/旁通阀监测
• 泄压阀/火炬阀监测
• 腐蚀监测
14.7.2 界区外设施 应用程序
界区外设施区域的主要无线技术应用程序包括:
• 翅片管冷却器的振动监测
• 冷却塔振动监测
• 泵/鼓风机等二/三线设备的振动监测
• 储罐区监测
• 废水处理厂/反渗透(ETP/RO)工厂 – 压力/温度/液位监测
• 海水取水设施
• 压力,温度监测
• 蒸汽水分析系统
• 连续排放监测系统
• 电机轴承/绕组温度监测
• 重要手动阀/旁通阀监测
• 腐蚀监测
14.7.3 储罐及油库监控
每个工厂都需要原材料进行生产,并利用这些原材料制造其最终产品。通常,这些原材料和最终产品存储在远离生产地点的区域。这些储罐中存放的不同材料需要保持在特定条件下。为了安全储存这些材料,必须维持一定的温度或压力。操作员可能还需要了解罐内液位。因此,有大量的工艺参数需要被监控或控制。由于成本优势,无线技术成为将这些工艺参数传输到控制室的理想解决方案。此外,无线技术提供了增加任何工艺测点的灵活性,而无需担心额外的电缆布线。
14.7.4 旋转设备安装
除了标准的泵、电机、涡轮机或压缩机之外,还有许多属于旋转性质的设备和机械仪表。低速旋转设备(如干燥机或窑炉)体积庞大,部分测量需要直接在旋转体上进行。无线技术仪表解决了在这些设备上安装传统有线设备长期存在的磨损问题。
14.7.5 易振动区域
在往复泵、离心机、气力输送等易振动区域,也需要进行过程变量测量。由于工艺特性,这些区域或系统会经历大量不规则且波动的振动和巨大压力。这使得仪表设备面临极大挑战,因为传统的有线变送器及其接线端子和接头容易发生连接松动。无线变送器最适合用于此类场合。
14.7.6 跨越河流
无线仪表技术在电缆敷设困难的隔离区域之间的数据传输中具有显著优势。通常,在两岸各设置两个基础设施节点,以实现数据通信。来自对岸传感器的数据可通过这些基础设施节点进行传输,从而跨越两岸之间的障碍,并将数据发送至控制室。
14.7.7 可移动平台
可移动设备,如轨道上的台车、起重机或土方机械,由于无线技术的灵活性和低维护特性,正逐渐转向使用无线仪表。有线仪表的电缆因部署环境恶劣,需要用铠装护层进行保护。即使有保护护层,也无法充分避免日常的磨损。无线仪表技术为这些恶劣环境带来的问题提供了解决方案。
14.7.8 海上油气勘探
海上油气平台是无线仪表获得广泛普及的另一个领域。这种选择背后的原因与其他领域略有不同。海上平台对用电规范有着非常严格的要求。由于平台漂浮在海洋中央,所有电力需求都必须由其自身的发电装置来满足。因此,任何设备或仪表的增加都会根据其功耗指标进行仔细评估。在这一场景中,无线设备明显具有优势,因为大多数仪表都是电池供电的。这些发射器采用了高度先进的算法和休眠功能,使得电池寿命很长。例如,对于报告速率为30秒的发射器,某些厂商的电池寿命可长达10年;而对于报告速率为1秒的发射器,电池寿命最少也可达到2年。
此外,在此类环境中,人员和劳动力可用性始终是个问题,因此与布线相关的故障排除变得多余。
14.7.9 船载通信
无线仪表在船舶和远洋客轮中也正迅速提高其普及性。这种普及性主要归功于其简单性和文档工作少。无线技术非常适合小规模部署,同时也便于故障排除。任何更换或新增设备都变得非常容易。
14.7.10 手持台的移动性
在大型工厂中,无线系统的流行部署方式伴随着无线基础设施建设。IEEE 802.11a/b/g/n 标准是任何无线回传或基础设施的常用选择。这是一种行业通用开放标准。802.11 b/g(也称为无线网络)被用于手持设备、智能手机、笔记本电脑等。典型的客户端接入具备无线网络功能。802.11a/n 用于主回传链路或网状网络吞吐量。高级基础设施节点通常具备作为WiFi接入点以及网状回传链路的能力,并支持工业协议。单一基础设施可同时支持支持WiFi的设备和工业变送器发射器和设备。移动操作站就是一种带有无线网络连接的设备。通过WiFi接入点并利用网状基础设施,这些操作站可以访问控制室内分布式控制系统的主数据服务器。在移动设备上运行的应用程序提供了与控制室内用于监控和控制的操作站相同的操作体验。这为现场操作员在厂区任何位置查看运行过程提供了极大的灵活性和移动性。
工业无线通信核心技术解析
2242

被折叠的 条评论
为什么被折叠?



